2025-01-15 16:43:26
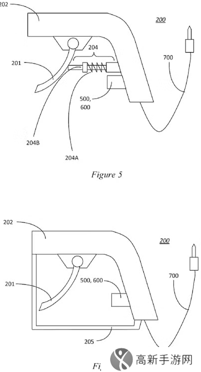
据gamerant报道,索尼最新专利揭示了一款全新的枪械配件,通过PS5手柄带来更具沉浸感的射击游戏体验。根据2024年6月提交并于2025年1月2日公开的专利,索尼正在研发一款枪械配件,玩家可以将
2025-01-15 16:39:14
传Xbox直面会将公布一个“标志性日本IP”全新作
2025-01-15 16:36:07
金铲铲之战4 18版本升级以后花仙羁绊有一定的提升,7花仙拥有第二个加冕,特别适合走双C管理体系,整体强度非常不错。下面带来金铲铲之战7花仙双C阵容详细介绍,感兴趣的小伙伴来了解一下吧。金铲铲之战7花
2025-01-15 16:28:53
《街头霸王6》迎来新成员!SNK《饿狼传说》不知火舞参战
2025-01-15 16:26:30
在如今的市场中,随着消费者对美体与保健的需求日益增加,很多品牌不断推出新型的美体产品和技术。其中,国产精品秘蜜臂秘成为了一种非常受欢迎的选择。这一产品系列的创新与独特性不仅吸引了大量的关注,也迅速获得
2025-01-15 16:20:35
Steam特别好评 《要塞:决定版》销量突破50万
2025-01-15 16:20:28
近段时间以来,拥有着“政确”元素的LGBTQ+游戏越来越多,让很多玩家都大倒胃口。推主@Pirat_Nation日前转发了一张论坛图片,这张图片里展现了《街头霸王6》不知火舞的美图,里面的玩家感叹道
2025-01-15 16:17:45
“男女一起嗟嗟嗟很痛原声无马”这句话直接反映了情感关系中的一种常见状态,那就是两个人在爱情中的痛苦和迷茫。在现代社会,男女关系复杂多变,无论是热恋期的甜蜜,还是冷静期的冷淡,都可能让人感到无法忍受的心
2025-01-15 16:07:58
摩托罗拉Moto G Stylus 5G(2025)轻薄现身:机身仅7 5mm厚
2025-01-15 16:07:27
在如今的互联网时代,黄游下载成为了许多人关注的话题。黄游作为一种成人内容类型,通常会引发广泛的讨论。许多人对它感到好奇,同时也有不少人寻求如何安全、便捷地获取这些内容。然而,在获取这些内容时,必须谨慎
2025-01-15 16:01:35
索尼第一方工作室或将广泛使用Decima引擎开发游戏
2025-01-15 15:58:53
1月13日,湖南平江,一辣条工厂举办嗑瓜子大赛,凭嗑瓜子的重量赢取对应克数黄金,嗑1g瓜子就送1g黄金。热火朝天的比赛之后,有员工最高 "嗑 "了6 1g黄金。工厂的负责人称特意准备的麻
2025-01-15 15:58:46
在三国志·战略版中,公孙瓒作为一位辅助武将,其搭配策略和战法推荐至关重要。以下是对公孙瓒的详细攻略:一、公孙瓒基础属性分析兵种适性:公孙瓒拥有两种S级兵种适性,即骑兵和弓兵。但考虑到其自带战法“白马义
2025-01-15 15:48:55
破碎之地夜珍珠炒面每日任务如何做?夜珍珠炒面是游戏里的一种特殊食材,游戏玩家在开启其秘方以后就能设计了。下面带来破碎之地夜珍珠炒面每日任务手册,各位朋友们来了解一下吧。破碎之地夜珍珠炒面每日任务详细说
2025-01-15 15:46:18
华为车BU合作新动向:上汽广汽模式各异,智驾方案成今年重点
2025-01-15 15:43:09
前《巫师3》团队新作《黎明行者之血》正式公开
2025-01-15 15:41:17
近日,由独立游戏开发者YashiromoriYuki制作的3D美少女第三人称射击游戏《战线指挥官》(Commander of Battlefront)于youtube公布了首支宣传短片。这位开发者在
2025-01-15 15:38:10
在烟雨江湖中,杭州,这座古老而充满活力的城市,仿佛是一幅流动的画卷,这里既有古色古香的江南水乡,又有现代都市的繁华,就让我们一起踏上这场穿越古韵与现代的梦幻之旅。初识杭州抵达杭州,首先映入眼帘的是那连
2025-01-15 15:28:03
红桃传祺MV自发布以来,便迅速吸引了许多车迷和音乐爱好者的关注。这款广告片不仅在视觉上给人留下了深刻的印象,更通过其独特的音乐和故事情节,展现了传祺品牌的创新精神和高品质。这种结合了汽车文化和音乐元素
2025-01-15 15:26:58
小岛秀夫开发《死亡搁浅2》感慨:高龄下的创作之路还能走多远?
2025-01-15 15:22:28
《主播女孩重度依赖 网络梗打字通》游戏配置要求介绍
2025-01-15 15:18:59
随着年轻人对自我表达的越来越强烈的需求,各种个性化标签也随之出现。“年轻漂亮的愣子6”这一标签,可能让很多人感到新奇,却也引发了不少讨论。它代表的是一群看似天真、心直口快、并不拘束于社会传统期望的年轻
2025-01-15 15:18:22
据外媒gamespot报道,一位来自Jackalyptic工作室的员工表示,PS5大作《神陨》开发商Counterplay Games曾与其合作开发游戏,然而Counterplay Games已经关
2025-01-15 15:09:32
炉石传说回归老账号怎么使用?最近炉石传说马上就要回归了,那么对一些老玩家想要使用老账号该怎么进行登录使用呢?具体的操作规则小编通过以下的攻略详细的说明,轻松解决大家老账号的使用问题,赶紧来试试吧。炉石